| 9. |
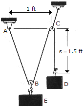
A "scale" is constructed with a 4-ft-long cord and the 10-lb block D. The cord is fixed to a pin at A and passes over two small pulleys at B and C. Determine the weight of the suspended block E if the system is in equilibrium when s = 1.5 ft. |
|||||||
Answer: Option D Explanation: No answer description available for this question. Let us discuss. |
| 10. |
The joint O of a space frame is subjected to four forces. Strut OA lies in the x-y plane and strut OB lies in the y-z plane. Determine the force acting in each if the three struts required for equilibrium of the joint. Set |
|||||||
Answer: Option B Explanation: No answer description available for this question. Let us discuss. |
